昆山辰立测量技术有限公司
P
产品展示
三坐标测量仪Daisy

三坐标测量仪Daisy

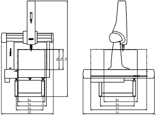
产品概述:

Daisy系列移动桥式三坐标测量机是一种多用途的几何量测量仪器,它采用移动桥式结构,工作台及导轨全部使用优质泰山青花岗岩材料,具有精度稳定性高,受外部环境影响相对较小的优点。主要测量中小型机械零部件的形状和位置误差,适合于计量室和生产现场使用。可广泛应用于航空、航天、兵器制造、汽车、发动机、机床、工模具、电子及其它需要复杂空间几何量测量的行业。


383770.00
323270.00
  

产品概述:

Daisy系列移动桥式三坐标测量机是一种多用途的几何量测量仪器,它采用移动桥式结构,工作台及导轨全部使用优质泰山青花岗岩材料,具有精度稳定性高,受外部环境影响相对较小的优点。主要测量中小型机械零部件的形状和位置误差,适合于计量室和生产现场使用。可广泛应用于航空、航天、兵器制造、汽车、发动机、机床、工模具、电子及其它需要复杂空间几何量测量的行业。


一、****系列三坐标测量机产品简介:
    ***系列采用高精度精密型测量机的专用结构,由固定桥和移动工作台组成,其牢固的机械结构确保了系统具备较大的刚性、较佳的稳定性和较小的振动,保证了 整个测量空间极高的测量精度。配以测量软件包,使其成为同类机型中性价相比当高的产品,其将满足您的需求,为您提供一个完善的测量解决方案。
MGH 系列三坐标测量机采用封闭框架结构设计,是高精度精密型测量机的专用结构。由固定桥和工作台移动组成,其牢固的机械结构确保了系统具备较大的刚性、较佳的稳定性和较小的振动,保证了整个测量空间极高的测量精度。
二、***系列三坐标测量机产品特点:
1、三轴在机械上相互独立,运动互不干扰,从而确保了系统的高稳定性。
2、Y 轴运动采用中央驱动,避免了 Y 向运动中的偏摆,提高了 Y 轴的运动精度。
3、Y 轴导轨采用燕尾槽定位方式,以保证运动时的较大刚性及精度。
4、三轴导轨均采用优质花岗岩,使三轴具有相同的温度特性,因而具有良好的温度稳定性、抗实效变形能力,钢性好、动态几何误差变形较小。
5、三轴导轨均采用自洁式预载荷高精度空气轴承,运动 更平稳。
6、光栅的布置接近被测工件,遵循了阿贝误差原理,减小了系统误差。
7、驱动系统采用进口高性能直流伺服电机、滚珠丝杠加同步带传动,确保传动更快捷、更精准、运动性能更佳。
8、Z 轴采用气缸平衡装置,极大的提高了 Z 轴的定位精度及稳定性。
9、控制系统采用德国高集成度 SB-08 专用数控系统,从而大大的提高系统的性能、可靠性和抗干扰能力。
10、软件采用具有独立知识产权的、功能强大的 ***** 测量软件包,其完善的测量功能和联机功能,为用户提供了**的测量解决方案。
11、此精度依照 ISO 10360-2 标准及 JJF 1064-2000标准。
12、此表机型技术参数为标准配置,可满足客户非标机型的特殊技术及配置要求。
13、所有技术指标和规格可能有所变动,不另行通知
14、采用高精度精密型测量机的专用结构,由固定桥和移动工作台组成,其牢固的机械结构确保了系统具备较大的刚性、较佳的稳定性和较小的振动,保证了 整个测量空间极高的测量精度
三、技术参数:
型号           测量范围(mm)  示值误差(mm)   探测误差(μm)
786           700×800×600             1.2+                   L/400 1.5
8106         800×1000×600          1.2+                    L/350 1.5
10128      1000×1200×800         1.5+                   L/350 4.8
121510    1200×1500×1000      1.8+                    L/350 2.0